客服热线
0512-56792010公司地址
江苏省张家港市杨舍镇河西南路358号
客服热线:13728402719

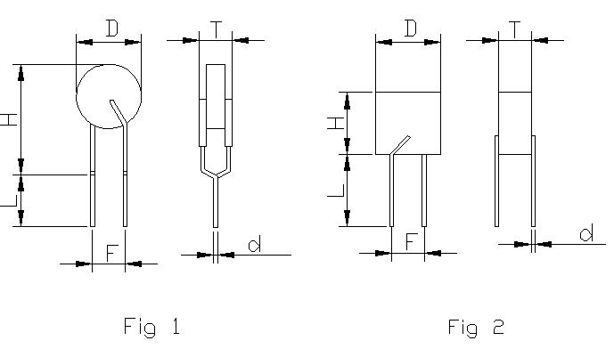
●产品尺寸(mm)
型号 | D (mm) | T (mm) | H (mm) | L (mm) | F (mm) | d(引线) (典型值) | Fig | |
Common different:-15%,+5% | Min | Max | ||||||
SCB-5R0-261AXN | 13 | 5.0 | 25 | 10.0 | 4.0 | 6.0 | 0.6 | 2 |
SCB-8R0-261AXN | 17.0 | 5.0 | 20 | 10.0 | 4.0 | 6.0 | 0.6 | 1 |
SCB-100-261AXN | 13.0 | 5.0 | 14 | 10.0 | 4.0 | 6.0 | 0.6 | 1 |
SCB-120-261AXN | 13.0 | 5.0 | 14 | 10.0 | 4.0 | 6.0 | 0.6 | 1 |
SCB-150-261AXN | 13.0 | 5.0 | 14 | 10.0 | 4.0 | 6.0 | 0.6 | 1 |
SCB-200-261AXN | 9.0 | 5.0 | 14 | 10.0 | 4.0 | 6.0 | 0.6 | 1 |
SCB-220-261AXN | 9.0 | 6.5 | 14 | 10.0 | 4.0 | 6.0 | 0.6 | 1 |
SCB-250-261AXN | 9.0 | 5.0 | 14 | 10.0 | 4.0 | 6.0 | 0.6 | 1 |
SCB-300-261AXN | 9.0 | 5.0 | 14 | 10.0 | 4.0 | 6.0 | 0.6 | 1 |
SCB-350-261AXN | 9.0 | 5.0 | 14 | 10.0 | 4.0 | 6.0 | 0.6 | 1 |
SCB-450-261AXN | 9.0 | 5.0 | 14 | 10.0 | 4.0 | 6.0 | 0.6 | 1 |
SCB-550-261AXN | 9.0 | 5.0 | 14 | 10.0 | 4.0 | 6.0 | 0.6 | 1 |
SCB-650-261AXN | 9.0 | 5.0 | 14 | 10.0 | 4.0 | 6.0 | 0.6 | 1 |
SCB-750-261AXN | 7.0 | 5.0 | 14 | 10.0 | 4.0 | 6.0 | 0.6 | 1 |
SCB-820-261AXN | 9.0 | 5.0 | 14 | 10.0 | 4.0 | 6.0 | 0.6 | 1 |
SCB-121-261AXN | 7.0 | 5.0 | 14 | 10.0 | 4.0 | 6.0 | 0.6 | 1 |
SCB-131-261AXN | 9.0 | 5.0 | 14 | 10.0 | 4.0 | 6.0 | 0.6 | 1 |
SCB-151-261AXN | 7.0 | 5.0 | 14 | 10.0 | 4.0 | 6.0 | 0.6 | 1 |
●电性能参数
型号 | R 25℃ (Ω) | IH (mA) | IT (mA) | Imax (A) | Max. Time-to-trip | Tf (℃) | Vmax (V) | |
Current(mA) | Time (S) | |||||||
SCB-5R0-261AXN | 5±25% | 330 | 660 | 2.5 | 1000 | 10 | 120±10 | 265 |
SCB-8R0-261AXN | 8±25% | 250 | 500 | 2.0 | 800 | 10 | 120±10 | 265 |
SCB-100-261AXN | 10±25% | 220 | 440 | 1.5 | 600 | 10 | 120±10 | 265 |
SCB-120-261AXN | 12±25% | 180 | 360 | 1.5 | 450 | 10 | 120±10 | 265 |
SCB-150-261AXN | 15±25% | 150 | 300 | 1.0 | 400 | 8 | 120±10 | 265 |
SCB-200-261AXN | 20±25% | 120 | 240 | 1.0 | 350 | 8 | 120±10 | 265 |
SCB-220-261AXN | 22±25% | 110 | 220 | 1.0 | 300 | 8 | 120±10 | 265 |
SCB-250-261AXN | 25±25% | 100 | 200 | 1.0 | 300 | 8 | 120±10 | 265 |
SCB-300-261AXN | 30±25% | 90 | 180 | 1.0 | 250 | 8 | 120±10 | 265 |
SCB-350-261AXN | 35±25% | 80 | 160 | 1.0 | 250 | 8 | 120±10 | 265 |
SCB-450-261AXN | 45±25% | 70 | 140 | 1.0 | 250 | 8 | 120±10 | 265 |
SCB-550-261AXN | 55±25% | 60 | 125 | 1.0 | 200 | 8 | 120±10 | 265 |
SCB-650-261AXN | 65±25% | 55 | 110 | 1.0 | 200 | 8 | 120±10 | 265 |
SCB-750-261AXN | 75±25% | 50 | 100 | 0.4 | 200 | 8 | 120±10 | 265 |
SCB-820-261AXN | 82±25% | 60 | 150 | 0.4 | 250 | 8 | 120±10 | 265 |
SCB-121-261AXN | 120±25% | 35 | 85 | 0.4 | 150 | 8 | 120±10 | 265 |
SCB-131-261AXN | 130±25% | 45 | 90 | 0.2 | 150 | 8 | 120±10 | 265 |
SCB-151-261AXN | 150±25% | 28 | 60 | 0.2 | 100 | 8 | 120±10 | 265 |
R(电阻): 在25℃静止空气环境下,PTC动作之前的电阻值。
IH(保持电流):25℃静止空气中不触发自复保险丝PTC电阻突变的最大电流.
IT(动作电流): 25℃静止空气中自复保险丝PTC从低阻转为高阻的最低电流.
动作时间:在过电流时,该高分子PTC热敏电阻由低阻值变为高阻值所需要的时间。
Vmax(最大工作电压): 自复保险丝PTC能承受的最大工作电压
Imax(最大工作电流): 自复保险丝PTC在最大电压下所能承受的最大电流.