客服热线
0512-56792010公司地址
江苏省张家港市杨舍镇河西南路358号
客服热线:13728402719

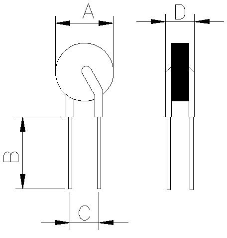
■产品尺寸(mm)
型号 | A (最大值) | B (最小值) | C (典型值) | D (最大值) | 引脚尺寸(φ) |
LBR200F | 5.5 | 7.6 | 5.1 | 3.1 | 0.6 |
LBR250F | 7.5 | 7.6 | 5.1 | 3.1 | 0.6 |
LBR350F | 7.5 | 7.6 | 5.1 | 3.1 | 0.6 |
LBR550F | 11.0 | 7.6 | 5.1 | 3.1 | 0.8 |
LBR750F | 11.0 | 7.6 | 5.1 | 3.1 | 0.8 |
LBR900F | 13.0 | 7.6 | 5.1 | 3.1 | 0.8 |
■电性能参数
型号 | IH (A) | IT (A) | 动作 | Vmax (V) | Imax (A) | Pdtyp (W) | Rmin (Ω) | Rmax (Ω) | |
电流(A) | 动作时间(秒) | ||||||||
LBR200F | 0.2 | 0.40 | 0.60 | 60.00 | 90.00 | 20.00 | 1.70 | 1.0 | 2.50 |
LBR250F | 0.25 | 0.50 | 0.70 | 60.00 | 90.00 | 20.00 | 1.75 | 0.8 | 2.00 |
LBR350F | 0.35 | 0.75 | 1.00 | 60.00 | 90.00 | 20.00 | 1.80 | 0.60 | 1.20 |
LBR550F | 0.55 | 1.10 | 1.60 | 60.00 | 90.00 | 20.00 | 2.00 | 0.35 | 0.90 |
LBR750F | 0.75 | 1.50 | 2.00 | 60.00 | 90.00 | 20.00 | 2.50 | 0.20 | 0.60 |
LBR900F | 0.90 | 1.80 | 2.60 | 60.00 | 90.00 | 20.00 | 3.00 | 0.10 | 0.50 |
IH(保持电流):25℃静止空气中不触发自复保险丝PTC电阻突变的最大电流.
IT(动作电流): 25℃静止空气中自复保险丝PTC从低阻转为高阻的最低电流.
动作时间:在过电流时,该高分子PTC热敏电阻由低阻值变为高阻值所需要的时间。
Vmax(最大工作电压): 自复保险丝PTC能承受的最大工作电压
Imax(最大工作电流): 自复保险丝PTC在最大电压下所能承受的最大电流.
Rmin(最小电阻值): 在25℃静止空气环境下,PTC动作之前的最小电阻值。
Rmax(最大电阻值):在25℃静止空气环境下,PTC动作之前的最大电阻值。